Need Help? Contact Us Trade Customer? Register / Login
Single Top - Single Track Sliding Door Gear For Wardrobe & Cupboard Doors Up To 900mm Wide & 45kg In Weight
Catalogue Number:
31272
- With the Henderson single top sliding door gear system, wardrobe doors have never been more graceful.
- This system works with single a track, timber framed or composite wardrobe doors of up to 45kg in weight, between 16-40mm thick and up to 900mm in width.
- Each set includes all the main components needed to install a long lasting, smooth running sliding door.
- Aluminium pre-drilled track for a durable, long lasting finish and easy installation.
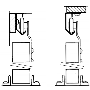
- Suitable for wall or ceiling installation.
- Supplied with bottom guide.
Single Sliding Doors

Double Bi-Parting Doors
- Two kits can be fitted "end on" (next to each other) to allow for double doors.

Dimensions And Track Lengths Available

| Item Code | Maximum Width Door (D) | Overall Track Length (L) | Maximum Door Weight (W) | Mimimum Door Thickness (T) | Maximum Door Thickness (T) |
|---|---|---|---|---|---|
| 31272.1 | 600mm | 1200mm | 45kg | 16mm | 40mm |
| 31272.2 | 750mm | 1500mm | 45kg | 16mm | 40mm |
| 31272.3 | 900mm | 1800mm | 45kg | 16mm | 40mm |

Fixing Options
- Pre-drilled aluminium track allows for fixing into the soffit / ceiling or face fixed into a wall.

Floor Guide
- The Henderson single top sliding door kit comes complete with a nylon floor guide, fixed to the floor next to the door frame, the door rund in between the guide to insure the door runs straight.

Items Included Within The Henderson Single Top Sliding Door Kit
- 1x Anti-Rise, Face/Soffit Aluminium Track
- 2x Nylon-Tyred, Face-Fixing Hangers
- 1x Rubber-Buffered Stop
- 1x Nylon Floor Mounted Door Guide
| Item | 31272 |
|---|---|
| Item Code | 31272 |
| Finish | Aluminium Track |
| Sold Per | Kit |
| Availability | Non stock product - sent direct from factory - please allow 3-7 working days for delivery |
Non stock product - sent direct from factory - please allow 3-7 working days for delivery











