Need Help? Contact Us Trade Customer? Register / Login
Double Action Pivot Set - For Double Swing Doors - Floor Mounted - 80kg - Satin Stainless Steel
Catalogue Number:
41051
- Double action pivot set - allows doors to swing in both directions
- Bottom bracket is floor mounted and does not protrude beyond the door edge
- Suitable for FD30 doors, tested to BS476 Part 22
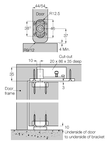
- Minimum door thickness 44 mm
- To suit doors up to 80 kg, when floor mounted
- Maximum door width 1100 mm, when jamb mounted
- 44 mm thick doors require R9 radius on pivot edge, 54 mm thick doors require R12 radius
- Top and bottom plates have maintenance free oil impregnated bronze bearings
- Set includes door bottom pivot, top centre and 5mm thick door brackets
Base Material
- Stainless steel - grade 304
Finish
- Satin stainless steel - (brushed finish)
Dimensions
- Top Pivot - 86mm x 20mm x 35mm
Unit Of Sale
- Sold per set - to hang one double action door.
| Item | 41051 |
|---|---|
| Item Code | 41051 |
| Finish | Satin Stainless Steel |
| Fire Rated | FD30 / FD60 - Fire Rated |
| Sold Per | Set |
| Availability | Stock item - please allow 1-3 days for delivery |
Stock item - please allow 1-3 days for delivery











